Wipow

Browse Wipow on thedailydialectics. Contains 49 entries.

wipow-00685957 | Home Directory
wipow-00685957 | Home
UNITED STATES have invented certain new and useful Improvements in Apparatus for the Utilization of Radiant Energy. (??
densitydensity_flagsdroppedhashtagsmeta_keywordspreset_usedprimaryraw
5 items
wipow-2020.01.30.927871v1.full Directory
wipow-2020.01.30.927871v1.full
BioRxiv preprint is made available under aCC-BY-NC-ND 4.0 International license. The current outbreak of 2019-nCoV warrants a thorough investigation.
densitydensity_flagsdroppedhashtagsmeta_keywordspreset_usedprimaryraw
5 items
wipow-ARFAA_Automated_Reality_Forgery_and_Astroturfed_Attrib Directory
wipow-ARFAA_Automated_Reality_Forgery_and_Astroturfed_Attrib
Automated Reality Forgery (ARF) leverages cutting-edge Al to generate a spectrum of synthetic media and data.
densitydensity_flagsdroppedhashtagsmeta_keywordspreset_usedprimaryraw
5 items
wipow-A_Comprehensive_Analysis_of_Thermite_the_Work_of_James Directory
wipow-A_Comprehensive_Analysis_of_Thermite_the_Work_of_James
Thermite reaction involves a more reactive metal (the fuel, commonly aluminum) reducing a less reactive metal oxide (the oxidizer, commonly iron oxide) This
densitydensity_flagsdroppedhashtagsmeta_keywordspreset_usedprimaryraw
5 items
wipow-Bioeffects_of_Selected_Non-Lethal_Weapons Directory
wipow-Bioeffects_of_Selected_Non-Lethal_Weapons
DA FOIAPA DIV referred a copy of your request to this office.(?.?!
densitydensity_flagsdroppedhashtagsmeta_keywordspreset_usedprimaryraw
5 items
wipow-Black_Snow_in_Atlanta__Unpacking_a_Viral_Conspiracy Directory
wipow-Black_Snow_in_Atlanta__Unpacking_a_Viral_Conspiracy
National Weather Service records confirm that a winter storm brought snow and ice to Atlanta, Georgia on January 28, 2014.
densitydensity_flagsdroppedhashtagsmeta_keywordspreset_usedprimaryraw
5 items
Ep3018862A1 Ass Los Comm Net Directory
Ep3018862A1 Ass Los Comm Net
3 items
wipow-EP_3018862_A1 | Home Directory
wipow-EP_3018862_A1 | Home
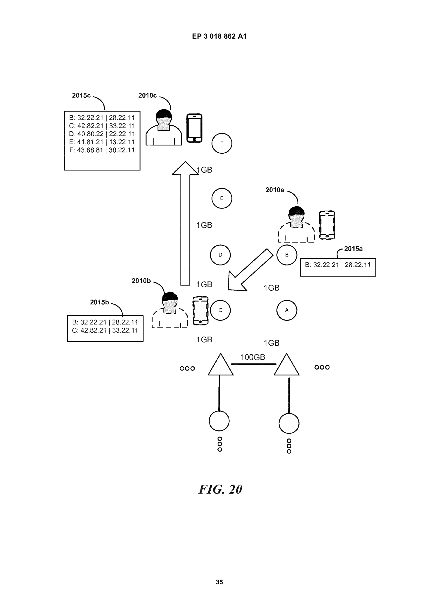
a computer-implemented method in a first node may comprise: TECHNICAL FIELD 0001 The disclosed embodiments relate to deployment and operation of line-of-sight
densitydensity_flagsdroppedhashtagsmeta_keywordspreset_usedprimaryraw
5 items
wipow-EP_3018862_B1 | Home Directory
wipow-EP_3018862_B1 | Home
VERBINDUNG IN SICHTLINIEN-KOMMUNIKATIONSNETZEN ASSOCIATIONS DANS DES RESEAUX DE COMMUNICATIONS.(?.?!
densitydensity_flagsdroppedhashtagsmeta_keywordspreset_usedprimaryraw
5 items
Quasai Wireless Communication System Directory
Quasai Wireless Communication System
3 items
wipow-SWTLsummary | Home Directory
wipow-SWTLsummary | Home
Theory says that two principle modes are possible. Coax outer conductor prevents radiation because it provides a balancingnegating current.
densitydensity_flagsdroppedhashtagsmeta_keywordspreset_usedprimaryraw
5 items
wipow-Surface-wave-transmission-lines-for-microwave-frequenc Directory
wipow-Surface-wave-transmission-lines-for-microwave-frequenc
a single-wire ti ation is much smaller than that of a coaxial line of the same size.
densitydensity_flagsdroppedhashtagsmeta_keywordspreset_usedprimaryraw
5 items
Us20160134372A1 Align Los Comm Net Directory
Us20160134372A1 Align Los Comm Net
3 items
Us20160134373A1 Dep Los Comm Net Directory
Us20160134373A1 Dep Los Comm Net
3 items
Us20170223605A1 Ass Los Comm Net Directory
Us20170223605A1 Ass Los Comm Net
3 items
Us20180013491A1 Dep  Los Comm Net Directory
Us20180013491A1 Dep Los Comm Net
3 items
Us20180062741A1 Align Los Comm Net Directory
Us20180062741A1 Align Los Comm Net
3 items
wipow-US7567154 | Home Directory
wipow-US7567154 | Home
United States Patent Elmore US 7,567,154 B2 Jul.(?.?!)s28, 2009 (10) Patent No.: (45) Date of Patent: (54) SURFACE WAVE TRANSMISSION SYSTEM. (? ,???!
densitydensity_flagsdroppedhashtagsmeta_keywordspreset_usedprimaryraw
5 items
Us9661552 Ass Los Comm Net Directory
Us9661552 Ass Los Comm Net
3 items
wipow-US_10044442 | Home Directory
wipow-US_10044442 | Home
sPatent US 10.044, 442 B2 Sheet 8 of 33 U.S.(?.?!)sB2 sheet 7 of 33 US Patent US 1004.442 b2 sheet 8 of 32.sSheet 5 of 33 n N N N A ke To ot. (? ,???!
densitydensity_flagsdroppedhashtagsmeta_keywordspreset_usedprimaryraw
5 items
wipow-US_20060185726_A1 Directory
wipow-US_20060185726_A1
Continuation of application No.(?.?!)s10724,310, filed on Nov.(?? .???!.s26, 2003, now Pat No. (? !?) s6,936,760.((?.i?!
densitydensity_flagsdroppedhashtagsmeta_keywordspreset_usedprimaryraw
5 items
wipow-US_2006_0201547_A1 Directory
wipow-US_2006_0201547_A1
Patent Application Publication co) Pub.(?.?!)sDate: Sep.(?? .???!
densitydensity_flagsdroppedhashtagsmeta_keywordspreset_usedprimaryraw
5 items
wipow-US_2007_0200749_A1 Directory
wipow-US_2007_0200749_A1
In commercial parlance, there is a "dead space" that 0024 reflective matching element coupled to single wire transmission line for producing a reflection to
densitydensity_flagsdroppedhashtagsmeta_keywordspreset_usedprimaryraw
5 items
wipow-US_2009_0284435_A1 Directory
wipow-US_2009_0284435_A1
Patent Application Publication ELMORE (10) Pub.(?.?!
densitydensity_flagsdroppedhashtagsmeta_keywordspreset_usedprimaryraw
5 items
Us 2010 0224696 A1 Directory
Us 2010 0224696 A1
2 items
wipow-US_20110204159_A1 Directory
wipow-US_20110204159_A1
Patent Application Publication Rogers et al. (?.?!)sDate: Aug.(? ???!
densitydensity_flagsdroppedhashtagsmeta_keywordspreset_usedprimaryraw
5 items
wipow-US_2016_0134372_A1 Directory
wipow-US_2016_0134372_A1
Various of the disclosed embodiments relate to line-of-sight (LOS), e.g., optical, based networks.(?.?!
densitydensity_flagsdroppedhashtagsmeta_keywordspreset_usedprimaryraw
5 items
wipow-US_2016_0134373_A1 Directory
wipow-US_2016_0134373_A1
POWER Cache ACCESS Peer Topology Information Connection 1 Connection 2 Logic Processor(s) Connection N User Interface FIG.(?.?!
densitydensity_flagsdroppedhashtagsmeta_keywordspreset_usedprimaryraw
5 items
wipow-US_2016_0324478_A1 Directory
wipow-US_2016_0324478_A1
I Wireless Comm - t 4 4 Processing g User interface -Acoustic 7 "Austrory Display -Biometric 2 Sensor Data Sonificatton" kom oe mom mom 2 -physiofogical, ad i
densitydensity_flagsdroppedhashtagsmeta_keywordspreset_usedprimaryraw
5 items
wipow-US_2017_0223605_A1 Directory
wipow-US_2017_0223605_A1
Systems and methods are provided for connecting nodes based on their topological position in a line-of-sight communication network.(?.?!
densitydensity_flagsdroppedhashtagsmeta_keywordspreset_usedprimaryraw
5 items
wipow-US_2017_0237497_A1 Directory
wipow-US_2017_0237497_A1
The method includes receiving, at an optical trans- ceiver, an optical communication and constructing, at a baseband integrated circuit in communication with
densitydensity_flagsdroppedhashtagsmeta_keywordspreset_usedprimaryraw
5 items
wipow-US_2018_0013491_A1 Directory
wipow-US_2018_0013491_A1
Patent Application Publication Jan.(?.?!)sDiscovery and Auto-alignment "Phaeil" is a company that specializes in the development of a new vehicle.
densitydensity_flagsdroppedhashtagsmeta_keywordspreset_usedprimaryraw
5 items
wipow-US_2018_0062741_A1 Directory
wipow-US_2018_0062741_A1
Cl CPC wee HO04B 101129 (2013.01); HO4B 101225 (2014.
densitydensity_flagsdroppedhashtagsmeta_keywordspreset_usedprimaryraw
5 items
wipow-US_3101472 | Home Directory
wipow-US_3101472 | Home
Transmission system according to claim 8 compris- R is the radius of the beam, Jy the Bessel function of the ing in addition to said wave beam producing means,
densitydensity_flagsdroppedhashtagsmeta_keywordspreset_usedprimaryraw
5 items
wipow-US_4378558 | Home Directory
wipow-US_4378558 | Home
The invention relates to antenna arrays of the type in assembled by crews while in a stable orbit.
densitydensity_flagsdroppedhashtagsmeta_keywordspreset_usedprimaryraw
5 items
wipow-US_6936760 | Home Directory
wipow-US_6936760 | Home
US006936760B2 Aug.(?.?!)s30, 2005 (10) Patent No.
densitydensity_flagsdroppedhashtagsmeta_keywordspreset_usedprimaryraw
5 items
wipow-US_7280033_B2 | Home Directory
wipow-US_7280033_B2 | Home
SURFACE WAVE POWER LINE COMMUNICATIONS SYSTEM AND METHOD 3,810,096 : 3,846,638 4,012,733 4,016,429 "EMETCON Automated Distribution System: Coommunications
densitydensity_flagsdroppedhashtagsmeta_keywordspreset_usedprimaryraw
5 items
wipow-US_7612284 | Home Directory
wipow-US_7612284 | Home
Patent No.: (45) Date of Patent: 3,933,323 A 11976 Dudley et al.(?.?!
densitydensity_flagsdroppedhashtagsmeta_keywordspreset_usedprimaryraw
5 items
wipow-US_7969042 | Home Directory
wipow-US_7969042 | Home
Patent Corum et al. US 7,969,042 B2 Jun. 28, 2011 (10) Patent No.
densitydensity_flagsdroppedhashtagsmeta_keywordspreset_usedprimaryraw
5 items
wipow-US_8497749 | Home Directory
wipow-US_8497749 | Home
Patent No.: (45) Date of Patent: (54) SINGLE CONDUCTOR SUR!(?.?!
densitydensity_flagsdroppedhashtagsmeta_keywordspreset_usedprimaryraw
5 items
wipow-US_8949250 | Home Directory
wipow-US_8949250 | Home
United States Patent Garg et al. (?.?!)s3, 2015 (10) Patent No.
densitydensity_flagsdroppedhashtagsmeta_keywordspreset_usedprimaryraw
5 items
wipow-US_9661552 | Home Directory
wipow-US_9661552 | Home
Patent No.: (45) Date of Patent: 6,990,293 B2 12006 Hu 7,236,705 B2 62007 Moursund and al.(?.?!
densitydensity_flagsdroppedhashtagsmeta_keywordspreset_usedprimaryraw
5 items
wipow-US_9912031 | Home Directory
wipow-US_9912031 | Home
U.S.(?.?!)sPatent Corum et al. (?)sUS 9,912,031 B2 Date of Patent No.
densitydensity_flagsdroppedhashtagsmeta_keywordspreset_usedprimaryraw
5 items
wipow-WiPoW_Comms_Claim_Analysis Directory
wipow-WiPoW_Comms_Claim_Analysis
Claims suggest this system has been operational for nearly a decade.(?.?!
densitydensity_flagsdroppedhashtagsmeta_keywordspreset_usedprimaryraw
5 items
wipow-Wireless_Power_Transmission_Using_Magnet-1 Directory
wipow-Wireless_Power_Transmission_Using_Magnet-1
The project was researched by former Cornell students Lucas Jorgensen and Adam Culberson in 2008.
densitydensity_flagsdroppedhashtagsmeta_keywordspreset_usedprimaryraw
5 items
wipow-a197278 | Home Directory
wipow-a197278 | Home
NWC TP 6880 93555 22202 Arlington, VA Naval Weapons Center China Lake, CA 1960 THROUGH 1987 (U) REVIEW OF ELECTRO.(?.?!
densitydensity_flagsdroppedhashtagsmeta_keywordspreset_usedprimaryraw
5 items
wipow-mandip-sibakoti Directory
wipow-mandip-sibakoti
The paper will outline our design process and the logical steps we took in the experimentation and design of our circuits.
densitydensity_flagsdroppedhashtagsmeta_keywordspreset_usedprimaryraw
5 items
wipow-senj | Home Directory
wipow-senj | Home
the concept of using CPW lines as dielectric sensors has been presented in reference 5. the second notch of the reflection coefficient (S;1) varies from 7.
densitydensity_flagsdroppedhashtagsmeta_keywordspreset_usedprimaryraw
5 items
wipow-tubeassessment Directory
wipow-tubeassessment
Reductions in defense budget have sharply curtailed defense industry sales.(?.?!)sMost defense suppliers have responded in predictable ways.
densitydensity_flagsdroppedhashtagsmeta_keywordspreset_usedprimaryraw
5 items