
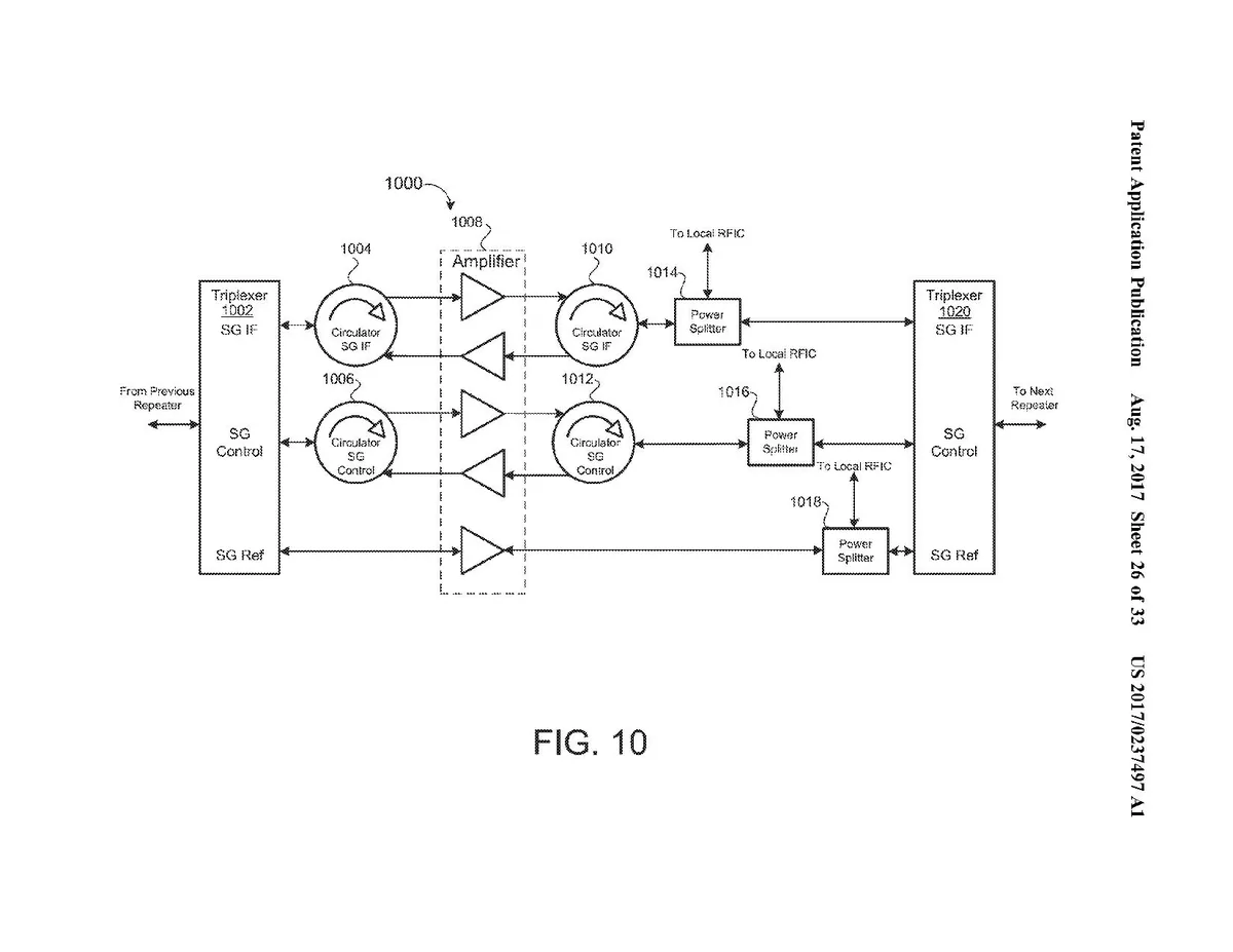
Diagram of a Quasi Wireless Communication System illustrating signal flow and components involved in RF control and amplification
Detailed diagram of a Quasi Wireless Communication System showing critical components such as triplexers, amplifiers, and circulators, as described in patent US10044442