Sommerfeld Goubau

Browse Sommerfeld Goubau on thedailydialectics. Contains 49 entries.

Diagram illustrating Goubau transmission system (350x204) Directory
Diagram illustrating Goubau transmission system (350x204)
Diagram of Goubau transmission system showing transmitter and related components
3 items
CA2966329A1 - Patent Application Summary Directory
CA2966329A1 - Patent Application Summary
patent application, CA2966329A1, Karthik Yogeeswaran, Ali Yazdan Panah, Facebook Inc., intellectual property
3 items
EP3018862A1 - Patent Application Analysis Directory
EP3018862A1 - Patent Application Analysis
Patent, EP3018862A1, Facebook Inc, Inventors, Application Status
3 items
QUASI-WIRELESS COMMUNICATION SYSTEM - US Patent US10044442 Directory
QUASI-WIRELESS COMMUNICATION SYSTEM - US Patent US10044442
Patent, Wireless Communication, Technology, QUASI, US10044442
4 items
QUASAI Wireless Communication System Diagram - US Patent 10044442 Directory
QUASAI Wireless Communication System Diagram - US Patent 10044442
QUASAI, wireless communication, optical network, PON, data distribution, US patent 10044442, technology diagram
4 items
QUASAI Wireless Communication System Diagram - US10044442 Directory
QUASAI Wireless Communication System Diagram - US10044442
QUASAI, wireless communication, fiber optic network, end users, patent diagram, US10044442
4 items
QUASAI Wireless Communication System Diagram - Patent US10044442 Directory
QUASAI Wireless Communication System Diagram - Patent US10044442
QUASAI, wireless communication, powerline networking, patent diagram, network architecture, US10044442
4 items
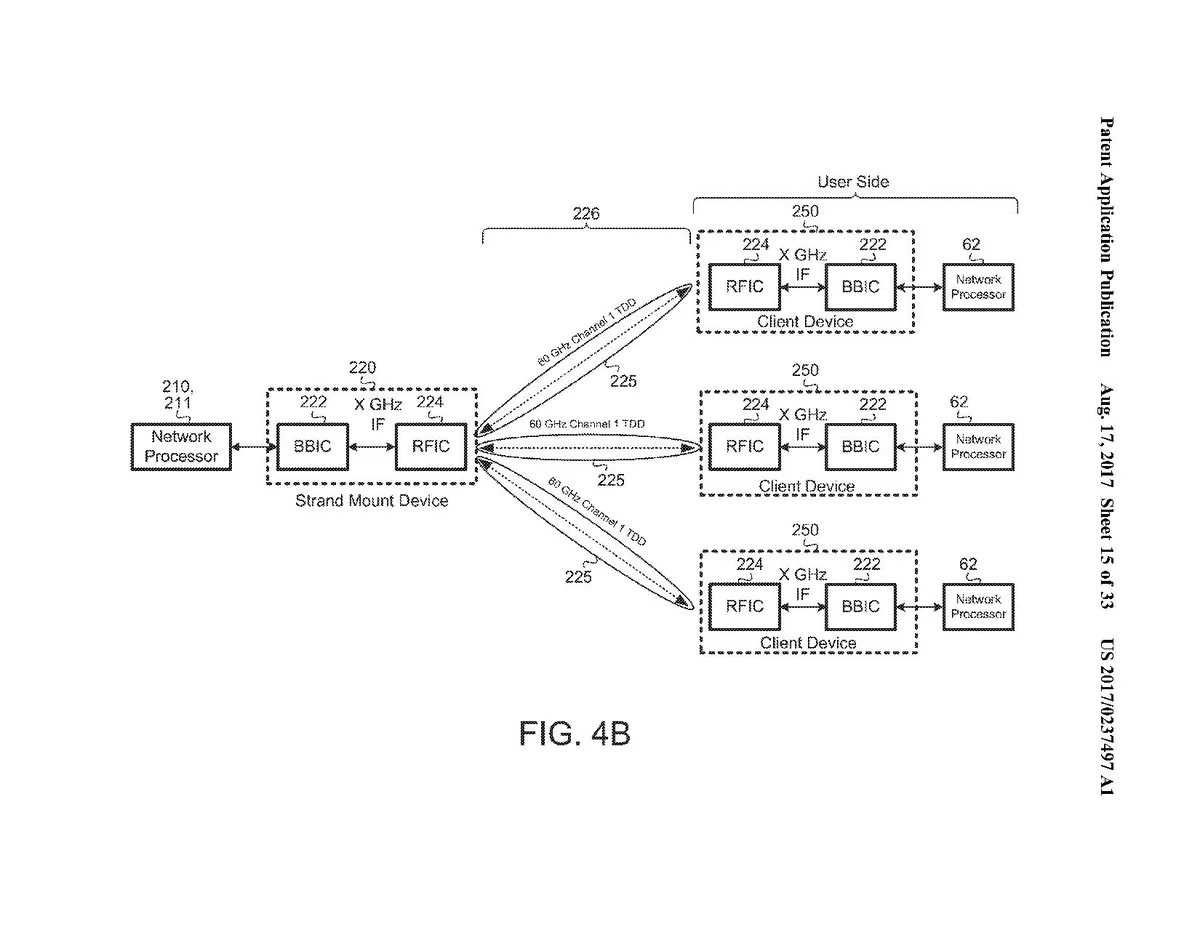
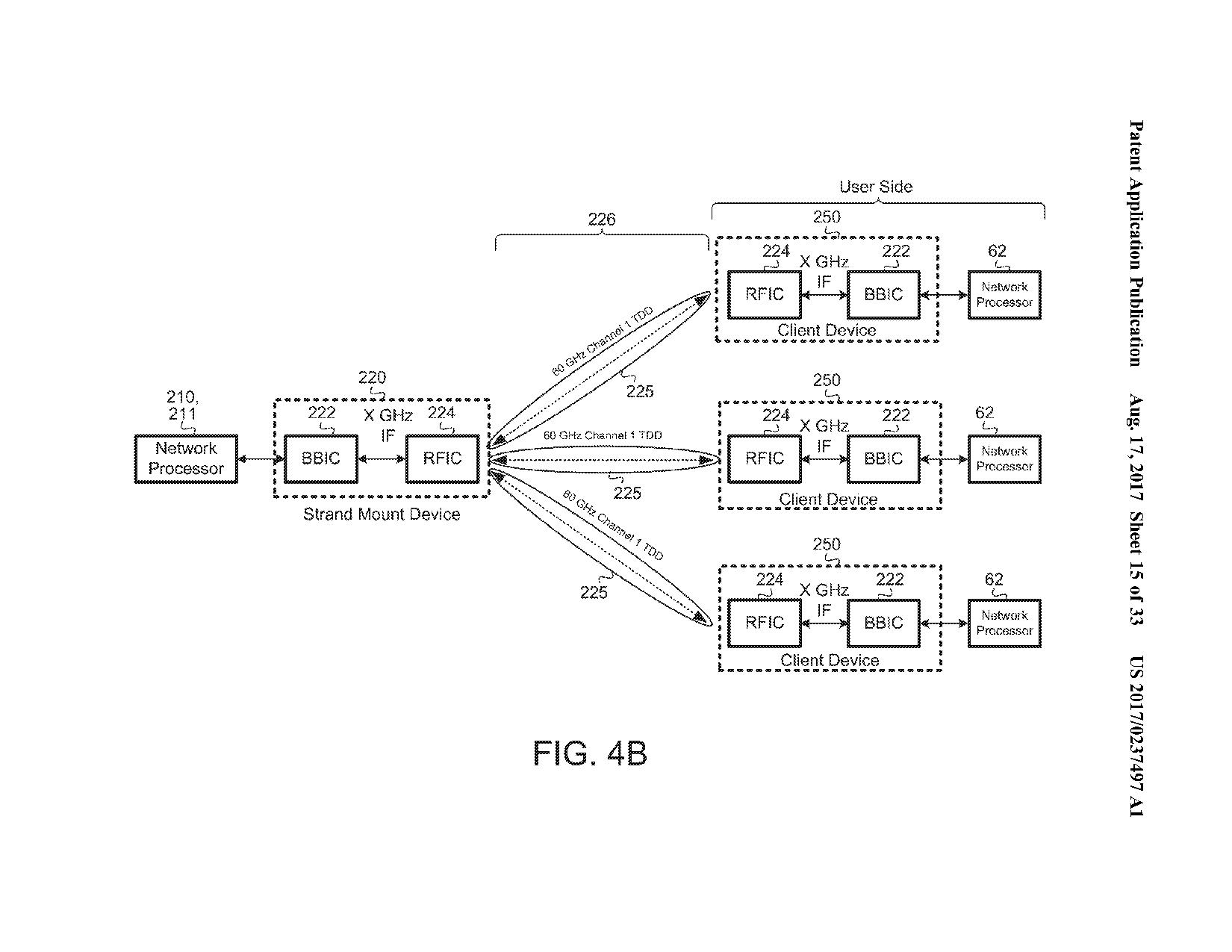
QUASAI Wireless Communication System Diagram - Figure 4B Directory
QUASAI Wireless Communication System Diagram - Figure 4B
QUASAI, wireless communication, RFIC, network processor, technology diagram, patent illustration, Figure 4B
4 items
QUASAI Wireless Communication System - Figure 4C Directory
QUASAI Wireless Communication System - Figure 4C
QUASAI, wireless communication, patent illustration, data transmission, communication system, residential connectivity
4 items
QUASAI Wireless Communication System Illustration (Patent Application FIG. 4D) Directory
QUASAI Wireless Communication System Illustration (Patent Application FIG. 4D)
QUASAI, wireless communication, patent illustration, communication technology, Fig. 4D
4 items
Quasai Wireless Communication System Diagram - Patent US10044442 Directory
Quasai Wireless Communication System Diagram - Patent US10044442
Quasai, Wireless Communication, RFIC, Patent Diagram, Communication System
4 items
QUASAI Wireless Communication System - Figure 6C Directory
QUASAI Wireless Communication System - Figure 6C
QUASAI, wireless communication, patent diagram, US10044442, communication technology, figure 6C, telecommunications
4 items
Quasi Wireless Communication System Diagram - US10044442 Directory
Quasi Wireless Communication System Diagram - US10044442
Quasi Wireless Communication, Wireless Communication System, RF Control, Patent Diagram, US10044442
4 items
SWTL Power Transfer Demo - Innovative Wireless Energy Transfer Technology Directory
SWTL Power Transfer Demo - Innovative Wireless Energy Transfer Technology
SWTL, wireless power transfer, energy transfer technology, Tesla, innovation, demonstration
4 items
Goubau Line Load Receiver Oscilloscope Coated Wire Wave Guide Diagram Directory
Goubau Line Load Receiver Oscilloscope Coated Wire Wave Guide Diagram
Goubau Line, Load Receiver, Oscilloscope, Wave Guide, Beam Instrumentation, EM Wave Testing, Signal Generator
4 items
US Patent 10,044,442 - Quasi-Wireless Communication System Directory
US Patent 10,044,442 - Quasi-Wireless Communication System
US Patent 10,044,442, quasi-wireless communication, optical transceiver, Google patent, communication system, patent diagram
3 items
U.S. Patent US 10,044,442 Figure 21 - Communication System Directory
U.S. Patent US 10,044,442 Figure 21 - Communication System
patent, communication system, US 10044442, technology, diagram
3 items
Sommerfeld-Goubau Launcher Diagram - US Patent 10,044,442 Directory
Sommerfeld-Goubau Launcher Diagram - US Patent 10,044,442
Sommerfeld-Goubau, launcher, US Patent, illustration, engineering design
3 items
Patent US20070200749A1 - MCEWAN TECHNOLOGIES LLC Directory
Patent US20070200749A1 - MCEWAN TECHNOLOGIES LLC
Patent, US20070200749A1, Thomas McEwan, MCEWAN TECHNOLOGIES LLC, patent application, intellectual property
3 items
US20160134372A1 - Facebook Inc Patent Application Directory
US20160134372A1 - Facebook Inc Patent Application
Patent, Facebook, US20160134372A1, Inventors, Intellectual Property, Application Status
3 items
US Patent 20160134372 A1 - Alignment in Line-of-Sight Communication Networks Directory
US Patent 20160134372 A1 - Alignment in Line-of-Sight Communication Networks
line-of-sight communication, network alignment, US patent, communication technology, wireless networks
3 items
US20160134373A1 - US Patent Application Directory
US20160134373A1 - US Patent Application
patent, US20160134373A1, Facebook, application, intellectual property, legal documents
3 items
Deploying Line-of-Sight Communication Networks - Patent US20160134373A1 Directory
Deploying Line-of-Sight Communication Networks - Patent US20160134373A1
patent, line-of-sight communication, network deployment, US20160134373A1, optical networks, telecommunications
3 items
Patent Application US20170223605A1 - Facebook Technology Directory
Patent Application US20170223605A1 - Facebook Technology
Facebook, patent, technology, US20170223605A1, Karthik Yogeeswaran, Ali Yazdan Panah, Yael Maguire
3 items
Patent US20170223605A1 - Association in Line-of-Sight Communication Networks Directory
Patent US20170223605A1 - Association in Line-of-Sight Communication Networks
line-of-sight communication, patent US20170223605A1, network systems, Facebook, node ranking, communication networks, optical communication
3 items
Diagram from US Patent Application US20170223605A1 Directory
Diagram from US Patent Application US20170223605A1
patent, patent application, US20170223605A1, technical diagram, intellectual property, innovation
3 items
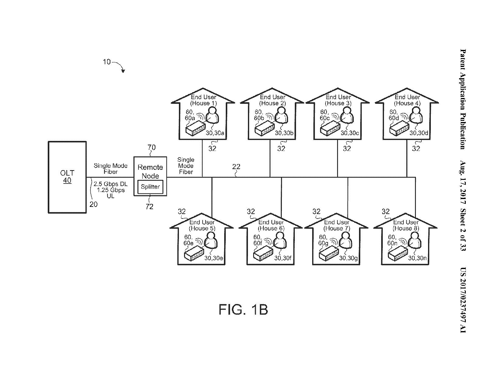
US20170237497A1 Patent Application Overview Directory
US20170237497A1 Patent Application Overview
Patent, Google, US20170237497A1, Innovation, Intellectual Property, Legal Document
3 items
Quasi-Wireless Communication System Patent Diagram - US20170237497A1 Directory
Quasi-Wireless Communication System Patent Diagram - US20170237497A1
quasi-wireless communication, patent diagram, US20170237497A1, optical transceiver, communication system
3 items
US20180013491A1 - Facebook Inc Patent Application Directory
US20180013491A1 - Facebook Inc Patent Application
Facebook, patent application, US20180013491A1, innovation, technology patents, Andreas Gros, Yael Maguire, Karthik Yogeeswaran, intellectual property
3 items
Patent Application for Deploying Line-of-Sight Communication Networks Directory
Patent Application for Deploying Line-of-Sight Communication Networks
line-of-sight communication, patent application, network architecture, optical networks, communication systems
3 items
US20180062741A1 - Patent Illustration Directory
US20180062741A1 - Patent Illustration
Facebook, patent, US20180062741A1, social media, technology innovations
3 items
Alignment in Line-of-Sight Communication Networks - Patent US20180062741A1 Directory
Alignment in Line-of-Sight Communication Networks - Patent US20180062741A1
line-of-sight, communication networks, optical technology, patent, US20180062741A1, Facebook, network optimization
3 items
Endfire Antenna Array Patent - US 4,378,558 Directory
Endfire Antenna Array Patent - US 4,378,558
antenna, endfire antenna array, microwave transmission, patent, US 4,378,558, modular design, aerospace technology
4 items
US7280033B2 Patent Diagram - Current Technologies LLC Directory
US7280033B2 Patent Diagram - Current Technologies LLC
US7280033B2, Patent Grant, Current Technologies LLC, Invention Diagram, Patent Diagram, US Patent Illustration
3 items
US8497749B2 Patent Diagram - Corridor Systems Inc Directory
US8497749B2 Patent Diagram - Corridor Systems Inc
US8497749B2, patent diagram, Corridor Systems Inc, Glenn E. Elmore, technology patents
3 items
US Patent US9661552B2 - Facebook Inc - Grant Details Directory
US Patent US9661552B2 - Facebook Inc - Grant Details
US Patent, Facebook, US9661552B2, patent grant, technology patents, Karthik Yogeeswaran, Ali Yazdan Panah, Yael Maguire
3 items
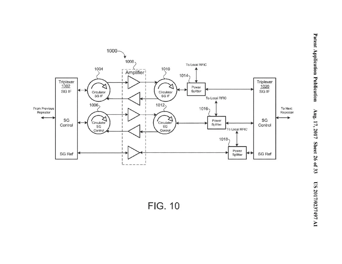
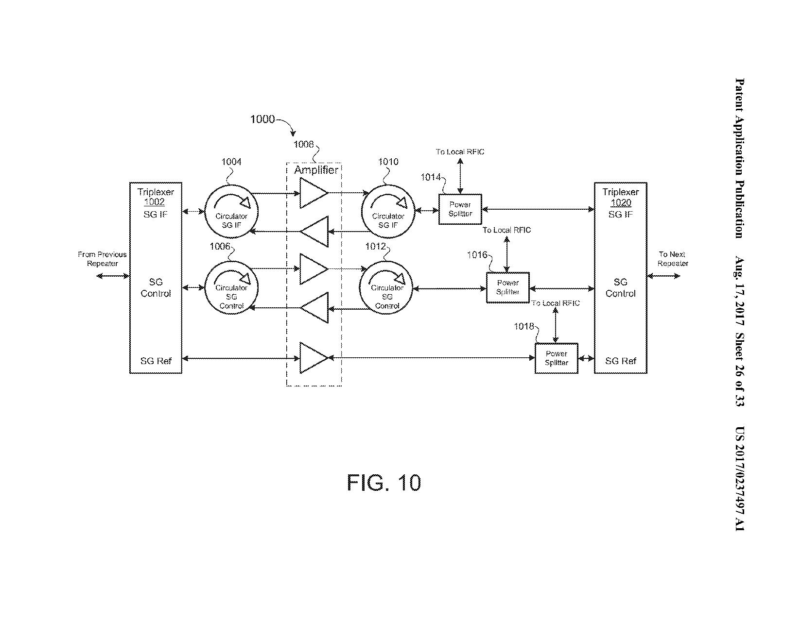
US Patent 9,661,552 - Figure 10 Directory
US Patent 9,661,552 - Figure 10
patent, US 9,661,552, diagram, invention, components, flow chart
3 items
Patented Technology Overview Directory
Patented Technology Overview
Patent, US9793988B2, Facebook Inc., Karthik Yogeeswaran, Yael Maguire
3 items
1960 Through 1987 - Research Report Directory
1960 Through 1987 - Research Report
Electromagnetic Waves, Research Report, Naval Weapons Center, Technology Review, P. L. Overfeit
4 items
Funny expression behind a door - cuck image Directory
Funny expression behind a door - cuck image
A whimsical representation of a face humorously peeking through a doorway, perfect for discussions on humor and social media trends
3 items
Goubau Communication Device Directory
Goubau Communication Device
Goubau, communication device, wireless transmission, high-frequency communication, technology
4 items
Goubau Reality Directory
Goubau Reality
2 items
Real Power Transmission Demonstration Directory
Real Power Transmission Demonstration
Power transmission, Real power, Energy transfer, Electrical experiments, Innovation in energy
3 items
Rndm Directory
Rndm
50 items
Sommerfeld Goubau Directory
Sommerfeld Goubau
7 items
Terahertz Waves Generation and Detection Diagram Directory
Terahertz Waves Generation and Detection Diagram
Terahertz Waves Generation and Detection Diagram
4 items
Industrial Assessment of the Microwave Power Tube Industry - April 1997 Directory
Industrial Assessment of the Microwave Power Tube Industry - April 1997
Microwave Power Tube, Industrial Assessment, Department of Defense, Technology Report, 1997
4 items
Sommerfeld-Goubau Wave Illustration (1024x1320) Directory
Sommerfeld-Goubau Wave Illustration (1024x1320)
Sommerfeld-Goubau mode, wave illustration, electromagnetic waves, wave propagation, patent illustration
3 items
Wipow Comms Directory
Wipow Comms
2 items