
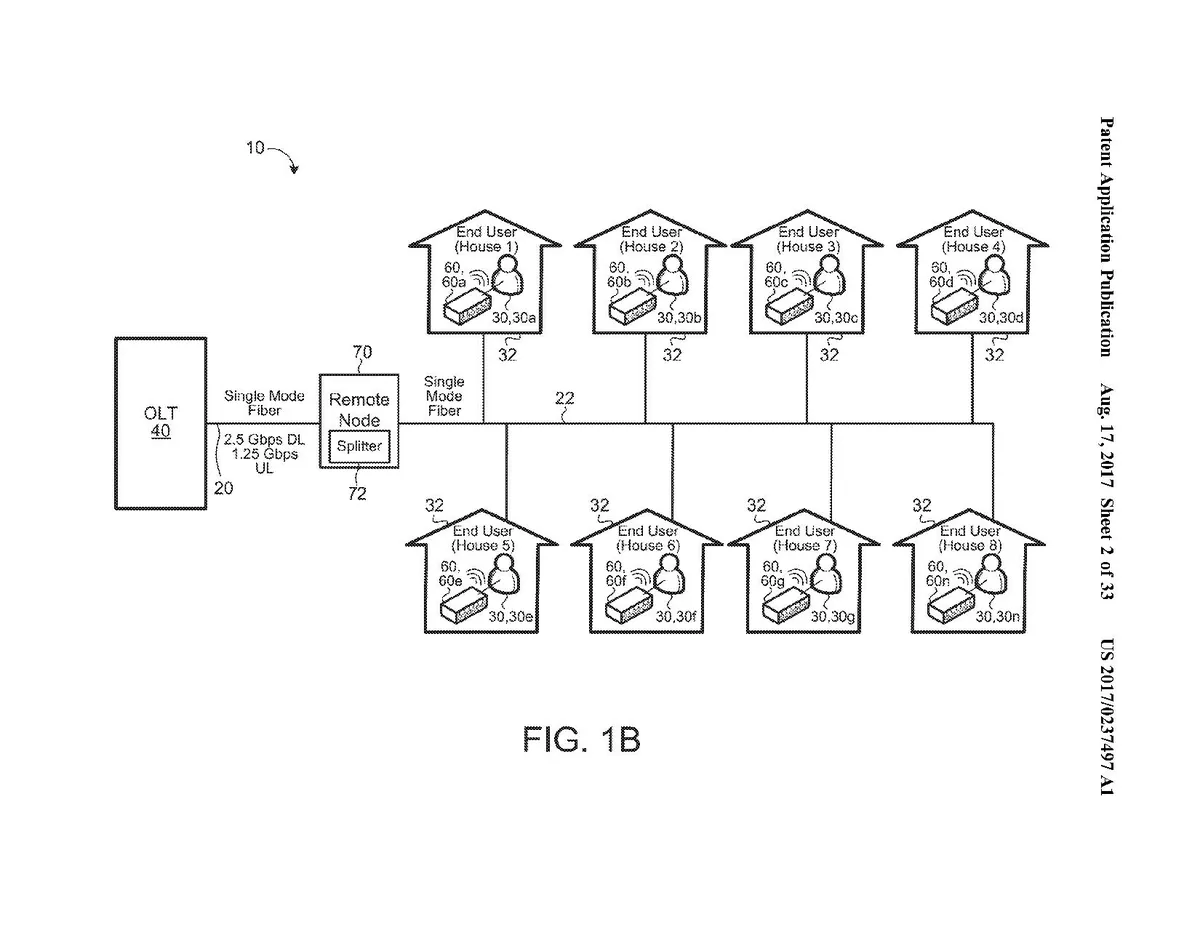
Diagram of the QUASAI wireless communication system showing a fiber optic network with multiple end users
Illustration of the QUASAI wireless communication system as outlined in patent US10044442, depicting the structure of a fiber optic network connected to multiple end users with remote nodes and splitters for enhanced data transmission